MFZ9-90YC


MFZ9-90YC

    本系列电磁铁适用于单相桥式全波整流电源,电压至220伏的控制线路中,MFZ9–※※YC可配套日本油研型6、10通径螺纹联结电磁换向阀,MFZ9–※※YCA可配套日本油研型6、10通径接线盒式螺纹联结电磁换向阀。

主要技术参数

型号

额定吸力
〔 N 〕

额定行程
〔 mm 〕

全行程
〔 mm 〕

承受油压〔 MPa 〕

消耗功率
〔 W 〕

操作频率
〔 t/h 〕

额定电压
〔 V 〕

MFZ 9 -90YC

≥ 90

4

≥ 8

21

≤ 36

12000

12

24

110

220

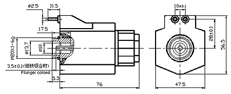
External Shape and Installing Dimension

作者:中国塑料机械网 来源:中国塑料机械网信息中心
相关文章
栏目导航
本类热门
本类推荐
  • 没有
联系我们 | 关于我们 | 免责声明 | 广告服务 | 帮助中心 | 意见反馈 | 友情链接 | 设为首页 | 收藏本站
  Copyright 2001-2013 © 塑料机械网版权所有 苏ICP备05049654号
联系电话:13961188591  客服QQ:81612946 电子邮箱:sunnyboo2005@sina.com